KCMA-D8
| KCMA-D8 | |
|---|---|
| Overview | |
| Introduced | 2010 |
| Manufacturer | ASUS |
| Specifications | |
| Socket | 2x C32 |
| Northbridge | 1x AMD SR5670 |
| Southbridge | AMD SP5100 |
| Super I/O | Winbond W83667HG-A |
| BMC | ASPEED AST2050 (OpenBMC-compatible) |
| BMC Flash Location | Removable Module |
| Memory | 8 slots (4 channels) DDR3-1600 ECC UDIMM/RDIMM/LRDIMM |
| BIOS Flash | 2 MiB socketed DIP-8 (W25Q16V) |
| Form Factor | ATX |
| Power Inputs | 1x 8-pin EPS |
| Expansion Slots |
|
| Onboard Peripherals | |
| Graphics Adapter | AST2050 Integrated VGA |
| Network Interface | 2x Intel 82574L Gigabit |
| Storage Controller | SP5100's SATA2 (3.0 Gbps), no SAS unless PIKE2008 installed |
| USB Controller | SP5100's onboard USB 2.0 |
| Serial Interface | One SIO-provided RS232, one virtual BMC console port |
| Audio Interface | None (ASUS recommended a PCI sound card) |
Support for the KCMA-D8 motherboard by coreboot-15h, 15h.org's downstream coreboot variant for fam15h systems, was recently completed.
Open Source Firmware
Open source firmware for the KCMA-D8 is provided by coreboot-15h utilizing AMD's open source AGESA and CIMx releases for platform initialization. The git repository for the firmware can be reviewed here.
KCMA-D8
Missing Features
- Opteron 4100 series CPUs are unsupported.
- TPM support is untested.
- ASUS MIO audio cards are untested.
Flashing
To switch from the stock firmware to coreboot, external flashing is required. The DIP-8 flash chip is located at the bottom right corner of the board (labeled BIOS in the motherboard diagram). A 3.3V CH341a programmer can be used to flash coreboot onto the KCMA-D8. When switching to coreboot-15h, clearing the CMOS is required.
Clearing the CMOS
- Turn off the computer and disconnect the power cord
- Move the CLRTC1 jumper (located under PCI Slot 4) to positions 2-3
- Wait 20 seconds
- Restore the CLRTC1 jumper to positions 1-2
- Connect the power cord and turn on the computer
Deployed Systems
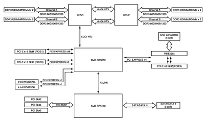
Motherboard Diagrams
Motherboard Components
Socket G34

G34 was launched on March 29, 2010. It supports 10h and 15h Opteron CPU's[1]. All G34 Opteron CPUs are dual node processors with two NUMA nodes.
AMD Opteron 6100 Series
Processors in the AMD Opteron 6100 Series were designed with the K10 microarchitecture and are compatible with the G34 socket.
Official Source Code and Documentation
- AGESA Source Code
- AGESA Interface Specification
- BIOS and Kernel Developer's Guide
- Product Data Sheet
- Power and Thermal Data Sheet
AMD Opteron 6200 and 6300 Series
Processors in the AMD Opteron 6200 and 6300 Series were designed with the Bulldozer (6200 series) and Piledriver (6300 series) microarchitectures and are compatible with the G34 socket.
Official Source Code and Documentation
- AGESA Source Code
- AGESA Interface Specification
- BIOS and Kernel Developer's Guide
- Product Data Sheet
- Software Optimization Guide
DDR3 Memory
The KCMA-D8 provides an external method to override the BIOS DDR3 voltage. BIOS control is configured to select a voltage that maximizes performance for all DIMM modules attached to a socket. Forcing a different voltage may cause stability problems. Use the default jumper setting (1.5V / BIOS control) when using coreboot-15h.
PCIe 2.0 Slots
| Slot | Width | Wired Lanes |
|---|---|---|
| PCIe1 | x16 | x16 |
| PCIe3 | x16 | x8 |
| PCIe5 | x8 | x4 |
PIKE Slots
The two PIKE slots, PIKE1 and PIKE2, are used together to attach an ASUS PIKE module to the KGPE-D16. This is required to utilize the 8 onboard SAS ports. These SAS ports support SAS2 and SATA3, making them faster than the onboard SATA2 ports provided by the SP5100. Drives attached to these ports are accessible to the operating system when the PIKE card is configured for IT mode, but SeaBIOS will not boot from them. The PIKE2008 card, flashed to IT mode, is recommended to utilize these features.
DIP-8 Socket
The DIP-8 Socket houses the mainboard's BIOS ROM. The following DIP-8 chips are known to work with coreboot on the KCMA-D8.
| Model | Size (MB) | Size (Mb) |
|---|---|---|
| W25Q16BVAIG | 2 | 16 |
| W25Q64BVAIG | 8 | 64 |
| W25Q128FVIQ | 16 | 128 |
ASPEED AST2050
The AST2050 chipset is an Integrated Remote Management Processor introduced by ASPEED Technology Inc. It is a high performance and highly integrated SOC device designed to support various management functions required for server platforms which require baseboard management, virtual storage functions, and/or KVM-over-IP functions.
Open source support for the AST2050's VGA output (text-mode only) was implemented in coreboot by Raptor Engineering[2]. Full VGA output support requires ASPEED's closed source VGABIOS to be included in the coreboot rom. A rudimentary port of OpenBMC was also developed by Raptor Engineering[3].
Remote administration features on the AST2050 are only activated when a firmware module (ASMB4 or ASMB5) is attached to the KGPE-D16 mainboard (BMC_FW1 slot).
AMD SR5670
The AMD SR5670, formerly known as RD870S, is a versatile system logic designed for the latest server/workstation platform, supporting AMD's next-generation CPUs. The chipset features 34 PCI Express® (PCIe®) lanes, with 30 lanes dedicated to external PCIe devices and 4 for the A-Link Express II interface to AMD's Southbridges like the SP5100 (formerly SB700S). Utilizing HyperTransportTM 3 and PCIe Gen 2 technologies, the SR5670 offers high performance and reliability in a compact 29mm x 29mm package. [4]
Official Source Code and Documentation
- CIMx Source Code
- BIOS Developer's Guide
- IOMMU Specification
- Register Reference Guide
- Register Programming Requirements
- Product Databook
- Product Errata
AMD SP5100
The AMD SP5100 is a versatile Southbridge designed to complement AMD's server Northbridges, integrating essential I/O, communication, and other features for advanced server platforms into a single device. [5]
Official Source Code and Documentation
- CIMx Source Code
- BIOS Developer's Guide
- Register Reference Guide
- Register Programming Requirements
- Product Databook
- Product Errata
Part Numbers
- AMD 218-0660013
- AMD 218-0660024
- AMD 218-0660026
Winbond W83527HG
The Winbond W83527HG is a member of Nuvoton’s LPC Super I/O product line for desktop PCs.
Nuvoton W83795G
The Nuvoton W83795G/ADG can be used to monitor several critical hardware parameters of a system; including power supply voltages, fan speeds, and temperatures.
Custom Parts
Northbridge Fan
This file is designed to work with a Noctua NF-A4x10 fan. If your motherboard is not in a high-airflow server case, the northbridge fan is highly recommended. The fan bracket mounts onto the northbridge heatsink by snapping onto the metal arms that secure the heatsink. The file may need to be edited to accommodate the exact placement of your 40mm fan cable (the provided design has a cable hole at the bottom right position).
KGPE-D16_Chipsetfan_40mm.blend
RAM Fan
This file is designed to work with a Noctua NF-A8 fan. When two of these fan mounts are attached to a Noctua NF-A8 fan, they will be spaced correctly to snap onto the KCMA-D8 RAM clips (white). These clips vary between boards. The included file is designed to work with L-shaped RAM clips. It will not fit as nicely onto the parallelogram-shaped RAM clips.